火场环境具有很多不确定性,对于开敞的大面积火场,仅凭观察和经验难以确定现场实际情况,因此,需要搭载各种侦查设备的无人机来进行火场的初步观测侦查,确定火点位置,有无被困人员,危险信息等。在侦查模块的工作模式下,无人机可以有效地对火灾损毁情况进行实时评估,可以获取部分重点部位的清晰图像,同时,对于高层建筑中的可疑部位和重点区域,地面人员还可以利用基站控制台操控无人机进行全方位侦查,第一时间获取火点位置,燃烧面积,火势蔓延情况等重要信息。
D-20EH消防无人机灭火机
由西安德润航空科技有限公司研发生产的D-20EH消防无人机平台以森林灭火弹火箭炮点火控制系统为对象,将数字及模拟电子技术、数据通信、控制技术、单片机、高级编程、无人直升机原理等技术综合应用于轻小型无人飞行器平台搭载,拥有23项新型发明专利,为国内首家采用该方案的无人机平台。多管火箭炮式可编程点火控制系统的设计,该平台可以适应不同管数的通用火箭炮点火控制系统,实现了火箭炮火控的延时自动化调整和对各管发射状态的实时监控,结合无人飞行器飞行特点,提高多管火箭炮的射击精度和密集掌控度。
工作原理
该无人机平台结合了图像实时采集传输、火控系统及安全系统、无人机自动化飞行几大系统。飞机接到火警信号及着火点地理信息后,由地面站操作人员输入相应的地理信息后,飞机自动起飞,全速奔袭至着火点,整个过程的图像会实时显示在地面的图像监控屏幕上,图像传输有微波图传、4G网络、卫星图像传输三条链路,三条链路相互作为图像传输的备份系统,保证了前方图像传输的可靠性。发现着火点后,地面站控制人员调整飞机姿态、位置、速度等参数后瞄准火源点发射灭火弹,稳定住火灾的蔓延趋势。
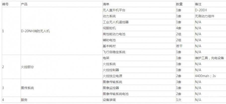
产品参数
来源:腾讯科技
转载本网稿件,原则上需要书面授权,不得篡改稿件主题。本网随时有权要求第三方停止侵权行为。
本网所载内容或图片,若涉及侵权,请联系删除。

微信扫一扫

